大采汇 - 机械制造外协加工平台 - 数智化采购招标、询价报价B2B服务商

大采汇服务号

单头螺栓加工

点击图片查看原图
 
需求数量: 244套
报价是否含税: 含税
报价是否含运费: 含运费
付款方式: 有预付
所在地: 浙江宁波市
发布时间: 2021-10-20
有效期至: 2021-10-27 [已过期]
浏览次数: 35
 
公司基本资料信息

您还没有登录,请登录后查看详情


 注意:查看联系方式,需开通VIP会员
详细说明
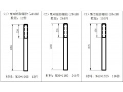
1 单头螺栓 Q355B M30*1000   12套  螺栓/螺母材质:Q355B,单头倒角螺纹长度230MM,每根螺栓配Q355B螺母2只/薄螺母1只。
2 单头螺栓 Q355B M36*1160   244套  螺栓/螺母材质:Q355B,单头倒角螺纹长度235MM,每根螺栓配Q355B螺母2只/薄螺母1只。
3 单头螺栓 Q355B M42*1325   116套  螺栓/螺母材质:Q355B,单头倒角螺纹长度250MM,每根螺栓配Q355B螺母2只/薄螺母1只。 
更多>同类最新订单
轴加工 钢套加工 铝加工件 铝件加工 铝零件加工 机加工件 不锈钢管件加工 立柱车加工